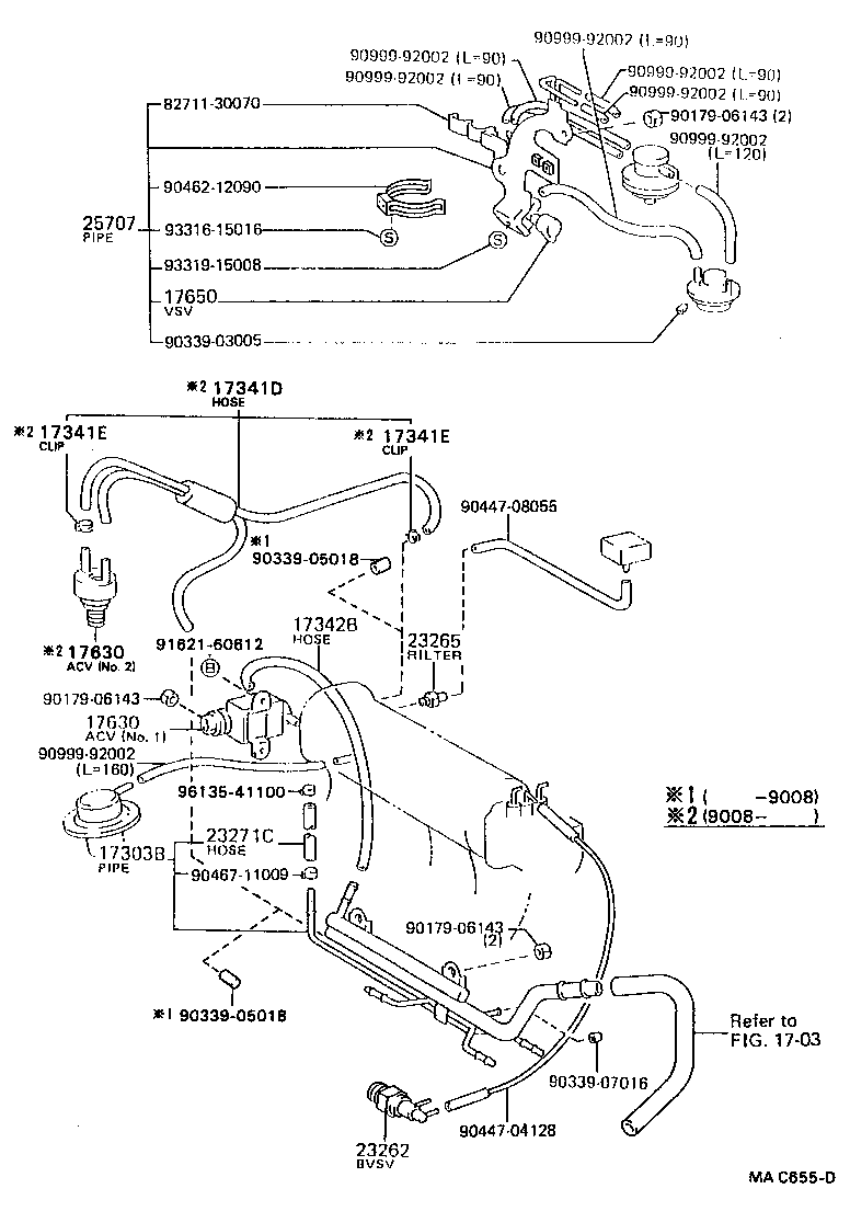
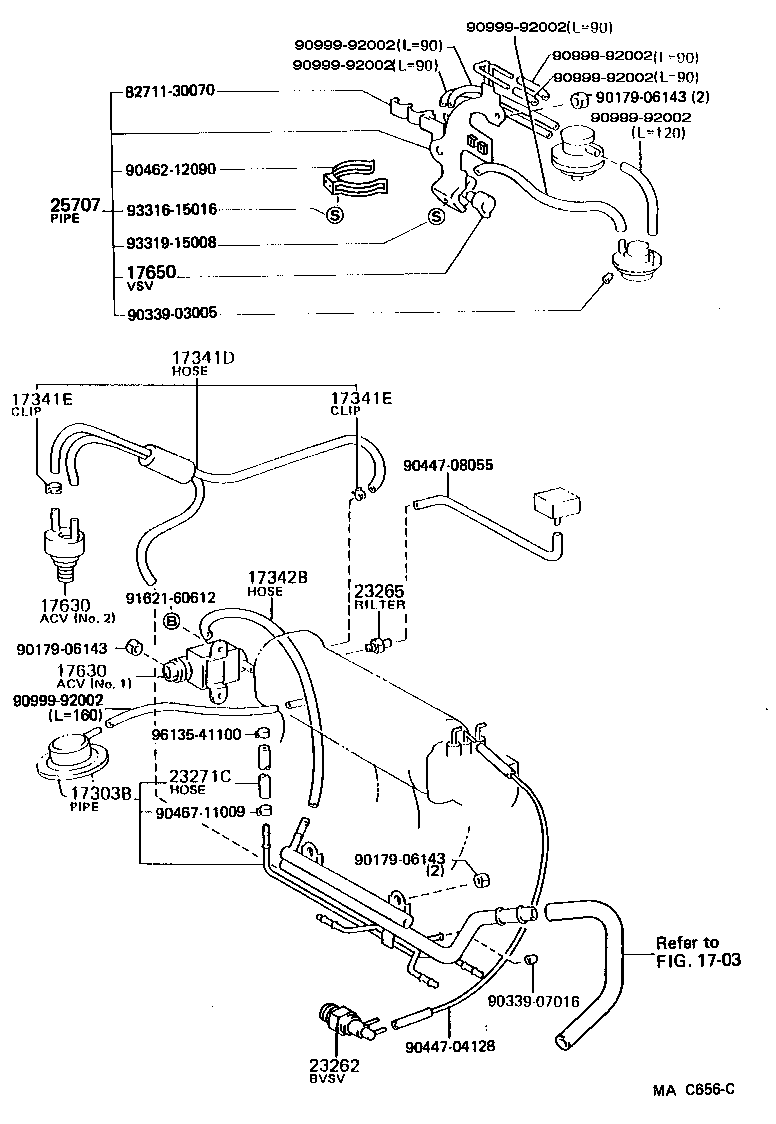
Toyota 4runner

17341d Hose Toyota 4runner

Vacuum Piping For Toyota Hilux Jpp Vzn130r Gkmsew 8908 9511 3vze Jpp Rhd Europe Market 1993 08 1995 11 Vzn130 3vze Sr5 Mtm Jpp Part Codes 9046715012 9613230400 9613241000 9613230400 9613241000 9613241100
europe.toylexparts.com

1997 Toyota T100 Engine Vacuum Diagram Diagram Base Website Vacuum Diagram Venndiagramworksheet Swakopmund Museum De
venndiagramworksheet.swakopmund-museum.de

89 22re Vacuum Line Diagram Diagram Base Website Line Diagram Usecasediagraminclude Guidilocurcio It
usecasediagraminclude.guidilocurcio.it

87 Toyota Pickup Fuel Pump Wiring Diagram Wiring Diagram
obd2.autoscout24.com

1
encrypted-tbn0.gstatic.com

Vacuum Piping Tool Engine Fuel Group Rn75l Sdtea3w 4 Runner Truck Us Toyota Catalog Partsouq Auto Parts Around The World
partsouq.com

Toyota 22re Engine Diagrams Coolant Wire Zagato Kidscostumes Club
wire.zagato.kidscostumes.club

Vacuum Piping For 1995 2002 Toyota Hilux Surf 4runner Vzn180 Europe Sales Region 17851697 919136
www.megazip.net

Genuine Toyota 90925 01021 9092501021 Valve Vacuum Transmitting Amayama
www.amayama.com

Oscar Estela Oscarestela2554 On Pinterest
www.pinterest.com

Vacuum Piping Tool Engine Fuel Group Rn55l Mscza 4 Runner Truck Us Toyota Catalog Partsouq Auto Parts Around The World
partsouq.com

Vacuum Hose Problems What Is This Yotatech Forums
www.yotatech.com

Coolant Temp Sensors 3vze Yotatech Forums
www.yotatech.com

Vacuum Piping For 1985 1989 Toyota Hilux 4runner Truck Rn61 U S A Sales Region 17782750 914573
www.megazip.net

2010 4runner Intake To Wiring Diagrams Wiring Diagram
itii.pedidos-magalu.com

7mge Engine Rebuild Page 4 Toyota Supra Forums
www.toyota-supra.info

Vacuum Piping Tool Engine Fuel Group Ln106r Prmrs Hilux 4runner 4wd Gr Toyota Catalog Partsouq Auto Parts Around The World
partsouq.com

Vacuum Piping Tool Engine Fuel Group Vzn130r Gjmseq Hilux 4runner 4wd Gr Toyota Catalog Partsouq Auto Parts Around The World
partsouq.com

1997 Toyota T100 Engine Vacuum Diagram Diagram Base Website Vacuum Diagram Venndiagramworksheet Swakopmund Museum De
venndiagramworksheet.swakopmund-museum.de

1997 Toyota T100 Engine Vacuum Diagram Diagram Base Website Vacuum Diagram Venndiagramworksheet Swakopmund Museum De
venndiagramworksheet.swakopmund-museum.de

Genuine Toyota 17343 62090 1734362090 Hose No 3 Amayama
www.amayama.com

1992 Toyota 4runner Vacuum Lines Step By Step Youtube
www.youtube.com

Ah 9767 3vze Engine Diagram Oil Wiring Diagram
bupi.inifo.apan.pneu.tzici.rect.mohammedshrine.org

1997 Toyota T100 Engine Vacuum Diagram Diagram Base Website Vacuum Diagram Venndiagramworksheet Swakopmund Museum De
venndiagramworksheet.swakopmund-museum.de

1997 Toyota T100 Engine Vacuum Diagram Diagram Base Website Vacuum Diagram Theheartdiagram Gemeinde Falkenau De
theheartdiagram.gemeinde-falkenau.de

Ah 9767 3vze Engine Diagram Oil Wiring Diagram
bupi.inifo.apan.pneu.tzici.rect.mohammedshrine.org

Vacuum Diagram Toyota 4runner Toyota 4runner 4runner Toyota
www.pinterest.com

Gk 6522 1989 Toyota Pickup 22re Vacuum Diagram Free Diagram
orsal.boapu.mohammedshrine.org

Ck 2516 3vze Vacuum Hose Diagram For Reference 3vze Vacuumhose Diagram Gif Download Diagram
loskopri.sieg.benol.favo.mohammedshrine.org

Toyota Celicaat180l Bcmska Tool Engine Fuel Vacuum Piping Japan Parts Eu
japan-parts.eu

Ah 9767 3vze Engine Diagram Oil Wiring Diagram
bupi.inifo.apan.pneu.tzici.rect.mohammedshrine.org

Gt 9302 89 7mge Engine Wiring Diagram Wiring Diagram
unnu.plan.tran.nerve.bachi.ivoro.emba.mohammedshrine.org

Vacuum Piping Tool Engine Fuel Group Vzn85l Trsrea6 4 Runner Truck Us Toyota Catalog Partsouq Auto Parts Around The World
partsouq.com

22re Coolant Hose Diagram Milk Zagato Kidscostumes Club
milk.zagato.kidscostumes.club

I Have A 1991 Toyota 4runner With 3 0 Efi I Need To Connect The Two Vacuum Lines From The Idle Up Switch On The Power
www.justanswer.com

Vacuum Piping Tool Engine Fuel Group Vzn85l Trsrea6 4 Runner Truck Us Toyota Catalog Partsouq Auto Parts Around The World
partsouq.com

Vacuum Piping Tool Engine Fuel Group Rn110l Crmdeab 4 Runner Truck Us Toyota Catalog Partsouq Com Auto Parts En Todo El Mundo
partsouq.com

5vz Fe Diagram Earing Zagato Kidscostumes Club
earing.zagato.kidscostumes.club

87d 4runner Engine Diagram Ebook Databases
kevin-ev0203.changeip.co

1997 Toyota T100 Engine Vacuum Diagram Diagram Base Website Vacuum Diagram Theheartdiagram Gemeinde Falkenau De
theheartdiagram.gemeinde-falkenau.de

89 22re Vacuum Line Diagram Diagram Base Website Line Diagram Usecasediagraminclude Guidilocurcio It
usecasediagraminclude.guidilocurcio.it

Vacume Hose Layout Yotatech Forums
www.yotatech.com

89 22re Vacuum Line Diagram Diagram Base Website Line Diagram Usecasediagraminclude Guidilocurcio It
usecasediagraminclude.guidilocurcio.it

Download Vacuum Hose Diagram For 1994 Toyota 4runner Products Guidebook Chm For Iphone Free Online Secure Techpdfmanuales Xyz
secure.techpdfmanuales.xyz

Oscar Estela Oscarestela2554 On Pinterest
www.pinterest.com

Vacuum Piping Tool Engine Fuel Group Rn85l Trmdek 4 Runner Truck Us Toyota Catalog Partsouq Com Auto Parts En Todo El Mundo
partsouq.com

Genuine Toyota 17630 28010 1763028010 Valve Assy Air Control Amayama
www.amayama.com

Vacume Hose Layout Yotatech Forums
www.yotatech.com

Https Encrypted Tbn0 Gstatic Com Images Q Tbn 3aand9gcql7opmd0c5i45y529hfbp4ty1m0v31gw0mcz Aixhhgmpgil3r Usqp Cau
encrypted-tbn0.gstatic.com

Vacuum Piping Tool Engine Fuel Group Rn75l Sdtea3w 4 Runner Truck Us Toyota Catalog Partsouq Auto Parts Around The World
partsouq.com

Vacuum Piping For 1991 1995 Toyota Hilux Surf 4runner Vzn130 Japan Sales Region 17722432 910502
www.megazip.net

Low Idle Need Help Ih8mud Forum
forum.ih8mud.com

Vacuum Piping Tool Engine Fuel Group Yn106r Prmrs Hilux 4runner 4wd Gr Toyota Catalog Partsouq Auto Parts Around The World
partsouq.com

Vacuum Piping Tool Engine Fuel Group Rn85l Trmdek 4 Runner Truck Us Toyota Catalog Partsouq Com Auto Parts En Todo El Mundo
partsouq.com

Power Steering Issue Works Fine Then Doesn T Figured Out That When Its Not Working There No Vacumm Shut It Off And
www.justanswer.com

Low Idle Need Help Ih8mud Forum
forum.ih8mud.com

Genuine Toyota 96135 41100 9613541100 Clip Amayama
www.amayama.com

Vacuum Piping California Spec 8808 22re Toyota 4 Runner Truck Rn10 110 13 Vzn10 110 13 Europe
toyota.7zap.com

Vacuum Piping Tool Engine Fuel Group Rn90l Crldsa 4 Runner Truck Us Toyota Catalog Partsouq Auto Parts Around The World
partsouq.com

Vacuum Piping Tool Engine Fuel Group Rn55l Mscza 4 Runner Truck Us Toyota Catalog Partsouq Auto Parts Around The World
partsouq.com

Egr Pair Vaccum Issue And A Unidentifiable Hose 95 4r Yotatech Forums
www.yotatech.com

Low Idle Need Help Ih8mud Forum
forum.ih8mud.com

Pulling Off The Egr Archive Mkiiisupra Net Uk Mk3 Toyota Supra Owners Group
www.mkiiisupra.net

Genuine Toyota 17881 62150 1788162150 Hose Air Cleaner No 1 Amayama
www.amayama.com

5vz Fe Diagram Wise Zagato Kidscostumes Club
wise.zagato.kidscostumes.club

On My 92 Toyota 4 Runner V 6 Got The Fuel And Vacuum Mix Up On The Platium Can You Help Me Give Me A Diagram I Had To
www.justanswer.com

Ck 2516 3vze Vacuum Hose Diagram For Reference 3vze Vacuumhose Diagram Gif Download Diagram
loskopri.sieg.benol.favo.mohammedshrine.org

Toyotavantech Forums
www.toyotavantech.com

Toyotavantech Forums
www.toyotavantech.com

Genuine Toyota 90925 01021 9092501021 Valve Vacuum Transmitting Amayama
www.amayama.com

Hrtc 7397 Nema 5 20r Diagram Diagram Base Website 20r Diagram Cardiagrama Madbari It
cardiagrama.madbari.it

1992 Toyota 4runner Vacuum Lines Step By Step Youtube
www.youtube.com

7mgte Motor Swap Into 80 Page 3 Yotatech Forums
www.yotatech.com

Vacuum Piping For Toyota 4runner Vzn185l Gkpgk 9511 5vzfe General Market 1995 11 2002 11 Vzn185 5vzfe Atm Lhd
general.toylexparts.com

87 T4r Specific Vac Questions W Diagram Toyota 4runner Forum Largest 4runner Forum
www.toyota-4runner.org

Low Idle Need Help Ih8mud Forum
forum.ih8mud.com

7mge Engine Rebuild Page 4 Toyota Supra Forums
www.toyota-supra.info

I Have A 1991 Toyota 4runner With 3 0 Efi I Need To Connect The Two Vacuum Lines From The Idle Up Switch On The Power
www.justanswer.com

1992 Toyota 4runner Vacuum Lines Step By Step Youtube
www.youtube.com

Gk 6522 1989 Toyota Pickup 22re Vacuum Diagram Free Diagram
orsal.boapu.mohammedshrine.org

Vacuum Piping 8708 8808 22rec Toyota 4 Runner Truck Rn5 6 7 Vzn6 Ln5 6 North America
toyota.7zap.com

Genuine Toyota 17630 28010 1763028010 Valve Assy Air Control Amayama
www.amayama.com

List Of Files In Toyota
www.4crawler.com

Genuine Toyota 90917 11027 9091711027 Filter Gas No 1 Amayama
www.amayama.com

Genuine Toyota 90925 06006 9092506006 Filter Assy Air Amayama
www.amayama.com

Vacuum Diagram Toyota 4runner Autos Y Motocicletas Autos Motocicletas
www.pinterest.com

Genuine Toyota 90445 12111 9044512111 Hose Amayama
www.amayama.com

Vacuum Piping For Toyota Hilux 4runner 4wd
www.carman.guru

Vacuum Piping Tool Engine Fuel Group Vzn185l Gkpska 4runner Eu Toyota Catalog Partsouq Auto Parts Around The World
partsouq.com

Egr Pair Vaccum Issue And A Unidentifiable Hose 95 4r Yotatech Forums
www.yotatech.com

Vacuum Piping Tool Engine Fuel Group Vzn130r Gjmseq Hilux 4runner 4wd Gr Toyota Catalog Partsouq Auto Parts Around The World
partsouq.com

Toyota Cressidamx83r Aepqfq Tool Engine Fuel Vacuum Piping Japan Parts Eu
www.japan-parts.eu

Toyota Celicaat180l Blmskw Tool Engine Fuel Vacuum Piping Japan Parts Eu
japan-parts.eu

Https Encrypted Tbn0 Gstatic Com Images Q Tbn 3aand9gcr Nvdamxdi9nqs8 Jq8h5cb6kbshhfifxdbah Mal7un8pupsh Usqp Cau
encrypted-tbn0.gstatic.com

4agze Tech Info Toyota Nation Forum
www.toyotanation.com

Oscar Estela Oscarestela2554 On Pinterest
www.pinterest.com

4agze Tech Info Toyota Nation Forum
www.toyotanation.com

Low Idle Need Help Ih8mud Forum
forum.ih8mud.com

Genuine Toyota 90925 06006 9092506006 Filter Assy Air Amayama
www.amayama.com

Genuine Toyota 90119 06206 9011906206 Bolt Amayama
www.amayama.com

Vacuum Piping 8408 8708 22rec Rn6 Toyota 4 Runner Truck Rn5 6 7 Vzn6 Ln5 6 North America
toyota.7zap.com

Toyota 3vze Engine Ignitor Diagram Fox Zagato Kidscostumes Club
fox.zagato.kidscostumes.club

Oscar Estela Oscarestela2554 On Pinterest
www.pinterest.com

close