Toyota 4runner

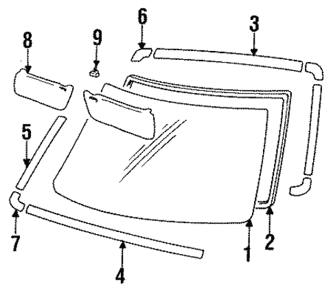
1986 Toyota 4runner Windshield

How To Remove Toyota Pickup 4runner Complete Dash Steering Wheel Youtube
www.youtube.com

Eliminating The Metal Windshield Trim Aka Rust Maker Yotatech Forums
www.yotatech.com

1986 Toyota Pickup Sr5 Extended Cab Pickup 22re Extremely Low Miles Excellent For Sale In Puyallup Washington United States For Sale Photos Technical Specifications Description
classiccardb.com

Eliminating The Metal Windshield Trim Aka Rust Maker Page 5 Yotatech Forums
www.yotatech.com

Eliminating The Metal Windshield Trim Aka Rust Maker Yotatech Forums
www.yotatech.com

1986 Sr5 4x4 Toyota Pickup Ih8mud Forum
forum.ih8mud.com

Eliminating The Metal Windshield Trim Aka Rust Maker Yotatech Forums
www.yotatech.com

1986 Toyota Efi Turbo 4x4 Pickup Glen Shelly Auto Brokers Denver Colorado
glenshelly.com

Exterior Mouldings Trims For 1986 Toyota 4runner For Sale Ebay
www.ebay.com

1987 Toyota Windshield Wipers Stopped Working Yotatech Forums
www.yotatech.com

1986 Toyota 4runner Cars For Sale
www.smartmotorguide.com

Https Encrypted Tbn0 Gstatic Com Images Q Tbn 3aand9gcqtx4c1pmhuchcvltxjlxvigpdotslm4ya 9jdyzvnmh2tfa2kp Usqp Cau
encrypted-tbn0.gstatic.com

1986 Toyota 4runner 4x4 Lifted Bad Boy Rust Free 22re Low Reserve For Sale Toyota 4runner 1986 For Sale In Spokane Washington United States
davidsclassiccars.com

Purchase Toyota 4runner Windshield Trim Molding Front Clip 1984 1985 1986 1987 1988 Sr5 Motorcycle In East Bridgewater Massachusetts United States For Us 24 99
www.2040-parts.com

1986 Toyota 4runner Cars For Sale
www.smartmotorguide.com

1986 Toyota 4runner Efi 22r 4x4 A C Air Conditioning 4wd Locking Hubs 124k Miles For Sale Photos Technical Specifications Description
classiccardb.com

Genuine Oem Glass Windshield Parts For 1986 Toyota Pickup Dlx Olathe Toyota Parts Center
parts.olathetoyota.com

75 95 Toyota Parts Garage Cleanout I Ship Paypal Amazon Payments Page 4 Toyota Minis
toyotaminis.com

Toyota Pickup Hilux Truck 4runner Surf 1986 1989 Windshield Wiper Motor Ebay
www.ebay.com

1986 Toyota 4runner Dlx 4x4 22re 5 Speed Low Miles Excellent Condition Pickup
classicvehicleslist.com

Purchase Used 1986 Toyota 4runner 4x4 22re 5 Speed Manual Transmission In South Gate California United States
www.2040-cars.com

Used 1986 Toyota 4runner Rn60 For Sale In Buffalo Wy 82834 Wolf Auto Center
www.wolfautogroup.com

Windshields Tagged Toyota Kool Katz Auto Glass
koolkatzautoglass.com

Auxbeam X Series Light Bar Installation 1986 Toyota 4runner Youtube
m.youtube.com

Toyheadauto Toyota Truck Parts List
toyheadauto.com

Yotatech Member Takes Us Through His 4runner Build Yotatech
www.yotatech.com

1986 4runner Windshield Trim Yotatech Forums
www.yotatech.com

Rig O Da Month Clifford The 1986 Toyota Hilux Ih8mud Forum
forum.ih8mud.com

1986 Toyota 4runner 4wd For Sale Near Charlotte North Carolina 28208 Classics On Autotrader
classics.autotrader.com

1986 4runner Billy Goat Build Thread Toyota 4runner Forum Largest 4runner Forum
www.toyota-4runner.org

Why Is There A Black Band Surrounding My Windshield Serra Toyota
www.serratoyota.com

1986 Toyota 4runner Dlx 4wd 5spd Manual For Sale Photos Technical Specifications Description
topclassiccarsforsale.com

Windshield Wiper Systems For 1986 Toyota Pickup For Sale Ebay
www.ebay.com

1986 Toyota 4runner Sr5 Turbo 4x4 For Sale On Bat Auctions Sold For 15 500 On May 19 2020 Lot 31 571 Bring A Trailer
bringatrailer.com

Toyota Pickup Windshield Wiper Motor Oem 86 89 4runner Or 84 85 22r 22re Oem 86 89 Rectangle Female Connector
www.justparts.com

No Reserve 26 Years Owned 1986 Toyota 4runner 4x4 5 Speed For Sale On Bat Auctions Sold For 9 000 On August 20 2020 Lot 35 381 Bring A Trailer
bringatrailer.com

How To Replace Your Windshield Trim Youtube
www.youtube.com

1986 4runner Turbo 22rte 5spd R151f Ultra Rare Clean Title For Sale Photos Technical Specifications Description
topclassiccarsforsale.com

1986 Sr5 4x4 Toyota Pickup Ih8mud Forum
forum.ih8mud.com

Windshield Molding Toyota 4runner Pickup Chrome Windshield Molding Kit 1989 95 Kit 3004
www.yotashop.com

Windshield Wiper Systems For 1986 Toyota Pickup For Sale Ebay
www.ebay.com

Eliminating The Metal Windshield Trim Aka Rust Maker Yotatech Forums
www.yotatech.com

Toyota 1986 Pickup 85k Hilux Barn Find Carport Long Bed No Reserve For Sale Photos Technical Specifications Description
topclassiccarsforsale.com

Chrome Trim Around Windshield Toyota 4runner Forum Largest 4runner Forum
www.toyota-4runner.org

1986 Toyota 4runner 4x4 Stock Turbo Sr5 Original Loaded
veh-markets.com

1986 Toyota 4runner 7 995
cars.ksl.com

Toyota 4runner 4runner 4wd 1986 Up For Worldwide Auction Is One Owner Cars For Sale
1car.one

1986 Toyota 4runner For Sale Classiccars Com Cc 1296693
classiccars.com

How To Toyota Pickup 4runner Vent Window Conversion Youtube
www.youtube.com

Eliminating The Metal Windshield Trim Aka Rust Maker Page 5 Yotatech Forums
www.yotatech.com

Toyota 4runner 4runner 4wd 1986 Up For Worldwide Auction Is One Owner Cars For Sale
1car.one

1986 Toyota Pickup 22rte Turbo
classiccarsmarks.com

1986 Toyota Pickup Turbo 4x4
greenlitemotors.com

1986 Toyota 4runner Jt3rn64wxg0026405 Photos Poctra Com
poctra.com

1986 Toyota 4runner Dlx 4x4 22re 5 Speed Low Miles Excellent Condition Pickup
classicvehicleslist.com

Eliminating The Metal Windshield Trim Aka Rust Maker Page 5 Yotatech Forums
www.yotatech.com

Purchase Used 1986 Toyota 4runner Sr5 Sport Utility 2 Door 2 4l In Prescott Valley Arizona United States
www.2040-cars.com

For 1984 1988 Toyota 4runner Windshield Wiper Arm Front Right Dorman 54118sd Ebay
www.ebay.com

86 Toyota Pickup Chrome Windshield Moulding 8 Piece Kit Genuine Oem 390 86 Picclick
picclick.com

1986 Toyota 4runner 4x4 5 Speed For Sale On Bat Auctions Sold For 10 000 On November 26 2019 Lot 25 533 Bring A Trailer
bringatrailer.com

1986 Toyota 4runner 4x4 Lifted Bad Boy Rust Free 22re Low Reserve For Sale Toyota 4runner 1986 For Sale In Spokane Washington United States
davidsclassiccars.com

1986 Toyota 4runner Cars For Sale
www.smartmotorguide.com

2018 Toyota 4runner Suv Windshield Sun Shades Car Window Shades And Car Window Covers By Heatshield The Original Windshield Sunshade
www.heatshieldstore.com

Toyota 4runner Pickup Truck Chrome Windshield Molding Kit 1984 1988
www.yotashop.com

Toyota 4runner 1986 For Sale Exterior Color Grey
www.skillter.com

1986 Toyota 4runner For Sale Classiccars Com Cc 1367685
classiccars.com

1986 Toyota Turbocharged 4x4 Pickup Glen Shelly Auto Brokers Denver Colorado
glenshelly.com

Eliminating The Metal Windshield Trim Aka Rust Maker Yotatech Forums
www.yotatech.com

1985 4runner Build Nc4x4
www.nc4x4.com

For Sale 1986 Toyota Pickup Turbo 4x4 Rare Colorado Ih8mud Forum
forum.ih8mud.com

1986 Toyota 4runner For Sale Classiccars Com Cc 1296693
classiccars.com

86 Toyota Pickup Chrome Windshield Moulding 8 Piece Kit Genuine Oem 390 86 Picclick
picclick.com

Mike Penhall S 1986 4runner The Ultimate Budget Bug Out Vehicle Ballistic Magazine
www.ballisticmag.com

New Windshield And Trim For My 88 Yotatech Forums
www.yotatech.com

1986 Toyota 4runner Sr5 Hilux Surf Jt3rn64w3g0041571
usedfromus.com

60 Toyota Teq Logo Retro Racing V3 Sun Strip Printed Windshield Car Vinyl Sticker Decal Toyota Tacoma Truck Toyota Trucks
www.pinterest.com

Hello 4runner Owners From Charlotte North Carolina Restoring A 1986 Toyota 4runner Toyota 4runner Forum 4runners Com
www.4runners.com

Dorman Windshield Wiper Systems For 1986 Toyota 4runner For Sale Ebay
www.ebay.com

Eliminating The Metal Windshield Trim Aka Rust Maker Yotatech Forums
www.yotatech.com

1986 Toyota 4runner Dlx 4x4 22re 5 Speed Low Miles Excellent Condition Pickup
classicvehicleslist.com

Toyota Pickup Parts Catalog Oem Toyota Pickup Parts Parts Geek
www.partsgeek.com

Genuine Oem Windshield Wiper Systems For Toyota Pickup For Sale Ebay
www.ebay.com

1986 Toyota Pickup Cars For Sale
www.smartmotorguide.com

35 Best Toyota Images Toyota 4runner Toyota 4runner
www.pinterest.com

First Gen Windshield Replacement Ih8mud Forum
forum.ih8mud.com

Eliminating The Metal Windshield Trim Aka Rust Maker Yotatech Forums
www.yotatech.com

1986 Toyota 4runner 4x4 Stock Turbo Sr5 Original Loaded
veh-markets.com

Eliminating The Metal Windshield Trim Aka Rust Maker Yotatech Forums
www.yotatech.com

Amazon Com Coverking Custom Windshield Snow Cover Frost Shield For Select Toyota 4runner Models Ballistic Black Automotive
www.amazon.com

93f22a6 1986 Toyota 4runner Cb7tuner Forums
www.cb7tuner.com

1986 Toyota Truck 4x4 Cars For Sale
www.smartmotorguide.com

Stolen Red 1986 Toyota 4runner Arb Snorkel 9 Leaf Spring Lift And Sas 37 Rtsl S Pirate 4x4
www.pirate4x4.com

First Gen Windshield Replacement Ih8mud Forum
forum.ih8mud.com

1986 Toyota Tacoma
car-from-uk.com

1986 Toyota 4runner Detail And Ceramic Coating Results Toyota Post Imgur
imgur.com

First Gen Windshield Replacement Ih8mud Forum
forum.ih8mud.com

For 1984 1995 Toyota 4runner Wiper Blade Rear Anco 38877cb 1987 1992 1988 1986 For Sale Online Ebay
www.ebay.com

1986 Toyota 4runner 4x4 Lifted Bad Boy Rust Free 22re Low Reserve For Sale Toyota 4runner 1986 For Sale In Spokane Washington United States
davidsclassiccars.com

Auto Parts And Vehicles 1986 Toyota Pickup 4runner Windshield Trim Molding Sr5 Truck 84 85 86 87 88 Oem Lamar Rs
www.lamar.rs

Latest On Windshield Moulding Toyota 4runner Forum Largest 4runner Forum
www.toyota-4runner.org

1986 Toyota 4runner On 35s Builtrigs
www.builtrigs.com

close