Toyota 4runner

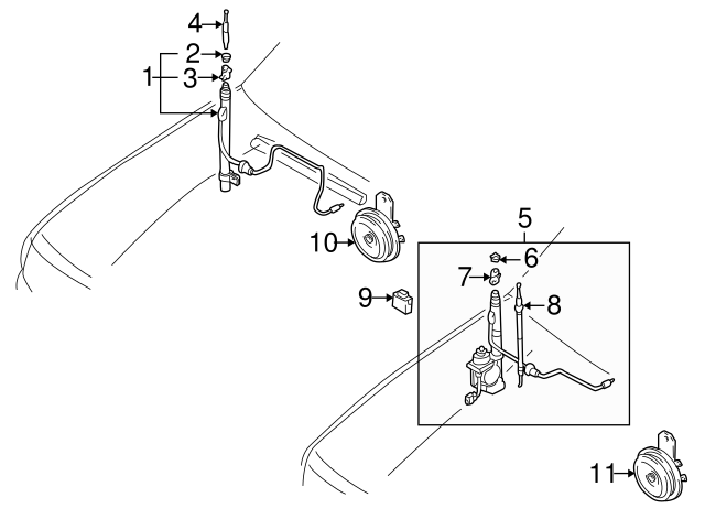
2000 Toyota 4runner Radio Antenna Replacement

New 2020 Toyota 4runner Nightshade 4 In Rancho Santa Margarita L5815619 Santa Margarita Toyota
www.santamargaritatoyota.com

3rd Gen 4runner Antenna Swap Youtube
www.youtube.com

Https Encrypted Tbn0 Gstatic Com Images Q Tbn 3aand9gcqiijqjz43owddhujwarf2zetggs5gzmvcydgjrdzjf 8hsiefy Usqp Cau
encrypted-tbn0.gstatic.com

How To Install A Radio In 2000 Toyota 4runner
itstillruns.com

Power Radio Antenna Replacement How To Toyota 4runner Pickup Youtube
www.youtube.com

Fit Toyota Power Antenna Radio Stereo Mast Motor Tooth Core Cable Unit For 4runner 1996 1997 1998 1999 2000 2001 2 Walmart Com Walmart Com
www.walmart.com

3rd gen powered antenna mast repair fix sr5 toyota 4runner.

2000 toyota 4runner radio antenna replacement. By far the best stereos customer service resources and install kits for the money. New genuine toyota t100 land cruiser 4runner power antenna mount nut 86396 89102. Keyo1e 49 amfm radio short antenna compatible with toyota 4runner 2002 2015.

Free shipping on your first order shipped by amazon. 45 out of 5 stars 212. Here are some installation details on the 2010 2019 toyota 4runner.

99 get it as soon as fri may 29. Get it as soon as thu sep 3. Oem antenna radio parts for 2000 4runner sr5.

X autohaux power antenna mast replacement for toyota 4runner am fm radio aerial 86337 35111. Black 36 aluminum short direct replacement screw thread performance antenna mast whip fits toyota 2002 2015 toyota 4runner 2003 2014 toyota sienna 1996 2016 toyota tacoma 37 out of 5 stars 26 1499 14. Please share like subscribe and comment if you found this video helpful.

31 out of 5 stars 15. 12v dc am fm radio auto power antenna mast replacement conversion kit. No reason for anyone who can use a screwdriver and follow directions to pay someone else to install a new stereo.

Order online or call 866 596 1970. Free shipping on many items.

Cb Radio Antenna In Place Of Oem Am Fm Antenna Toyota 4runner Forum Largest 4runner Forum
www.toyota-4runner.org

2020 Toyota 4runner Pictures
www.autoblog.com

Aluminum Alloy Car Vehicle Radio Antenna Replacement Accessories Fit For Toyota 4runner Hilux Surf Kzn185 1995 2000 Aliexpress
www.aliexpress.com

Pioneer Fh S500bt Double Din Radio Install Kit With Cd Player Bluetooth Fits 2003 2009 Toyota 4runner 2000 2005 Toyota Celica 2000 2005 Toyota Mr2 Spyder Sound Of Tri State Lanyard
www.soundoftristate.com

Antennas For 1996 Toyota 4runner For Sale Ebay
www.ebay.com

96 02 New Toyota 4runner Power Antenna Mast 1996 1997 1998 1999 2000 2001 2002 Ebay
www.ebay.com

1996 2002 Toyota 4 Runner Power Antenna Parts 86300 35111 86396 89102 86392 35020 86337 35111
antennamastsrus.com

Aluminum Alloy Car Vehicle Radio Antenna Replacement Accessories Fit For Toyota 4runner Hilux Surf Kzn185 1995 2000 Aliexpress
www.aliexpress.com

2000 Toyota 4runner Limited 4dr Suv In Anaheim Ca Auto Hub Inc
www.autohubonline.com

01 3rd Gen 4runner Power Antenna Replacement Ih8mud Forum
forum.ih8mud.com

Power Antenna Aerial Mast Oem Replacement Cord For Toyota 96 02 Toyota 4runner Ebay
www.ebay.com

Replacing The Power Antenna With Whip Antenna Picture Heavy Toyota 4runner Forum 4runners Com
www.4runners.com

1997 Toyota 4runner Location Of Fuel Pump Where Is The Fuel Pump
www.2carpros.com

Cravenspeed

2019 Toyota 4runner Sr5 In Midlothian Va Richmond Toyota 4runner Haley Toyota Of Richmond Midlothian
www.haleytoyota.com

01 3rd Gen 4runner Power Antenna Replacement Ih8mud Forum
forum.ih8mud.com

Toyota 4runner Mobile Setup
www.bnk94.com

Toyota 4runner Parts Aftermarket Toyota 4runner Body Parts
www.partsgeek.com

01 3rd Gen 4runner Power Antenna Replacement Ih8mud Forum
forum.ih8mud.com

How To Replace Broken Power Antenna On Toyota And Lexus Vehicles Youtube
www.youtube.com

Aluminum Alloy Car Vehicle Radio Antenna Replacement Accessories Fit For Toyota 4runner Hilux Surf Kzn185 1995 2000 Aliexpress
www.aliexpress.com

Toyota Of Des Moines

97 Toyota 4runner Radio Wiring Diagram Diagram Base Website Wiring Diagram Sheepheartdiagram Gemeinde Falkenau De
sheepheartdiagram.gemeinde-falkenau.de

About My Truck Hi I Have A 2000 Toyota 4 Runner And My Power Door
www.2carpros.com

Howto 2000 Stereo Replacement Toyota 4runner Forum Toyota 4runner Enthusiasts Forum
www.4runnerforum.com

2005 Toyota 4runner Reliability Consumer Reports
www.consumerreports.org

Upgrading The Stereo System In Your 2010 2018 Toyota 4runner
www.crutchfield.com

1996 02 Toyota 4runner Consumer Guide Auto
consumerguide.com

01 3rd Gen 4runner Power Antenna Replacement Ih8mud Forum
forum.ih8mud.com

Antenna Mast Toyota 86337 35111 Toyota Parts
parts.olathetoyota.com

Toyota 4runner Head Unit
toyota4runnerjapan.blogspot.com

01 3rd Gen 4runner Power Antenna Replacement Ih8mud Forum
forum.ih8mud.com

Power Antenna Fix With Pic S Toyota 4runner Forum Largest 4runner Forum
www.toyota-4runner.org

The Stubby Antenna Install And Review Toyota 4runner 2002 2013
trail4runner.com

Toyota 4runner Radio Antenna Mast 1996 1997 1998 1999 2000 2001 2002 Genuine Oem 8630035111 86300 35111 Apszone
apszone.com

2000 Toyota 4runner Limited Suv In Pittsburg Ks Item Gb9600 Sold Purple Wave
www.purplewave.com

2000 Toyota 4runner Limited Cars For Sale
www.smartmotorguide.com

2016 Toyota 4runner Limited Richmond Va Mechanicsville Midlothian Short Pump Virginia Jtebu5jr9g5310874
www.haleyjeepram.com

Used 2000 Toyota 4runner For Sale Near Portland Vin Jt3hn87r2y0285212
www.hannahsubaru.com

How To Replace Oem Antenna In Fender Tacoma World
www.tacomaworld.com

Amazon Com X Autohaux Power Antenna Mast Replacement For Toyota 4runner Am Fm Radio Aerial 86337 35111 Automotive
www.amazon.com

2000 Toyota 4runner Sr5 Jt3gn86r1y0175622 Eastern Shore Toyota Daphne Al
www.easternshoretoyota.com

How To Change A Broken Antenna Toyota Nation Forum
www.toyotanation.com

Amazon Com Toyota Genuine 86392 35040 Antenna Ornament Automotive
www.amazon.com

How To Toyota Camry Stereo Wiring Diagram My Pro Street
my.prostreetonline.com

Aluminum Alloy Car Vehicle Radio Antenna Replacement Accessories Fit For Toyota 4runner Hilux Surf Kzn185 1995 2000 Aliexpress
www.aliexpress.com

Rago 2010 2018 5th Gen Toyota 4runner Ham Radio Hood Mount Pf Adventure
www.pfadventure.com

1996 02 Toyota 4runner Consumer Guide Auto
consumerguide.com

Rago Fab Antenna Mount On 4runner Running Cb Ham Antenna Cable 4runner Ham Radio Antenna Antenna
www.pinterest.com

Car Radio Antenna Aluminum Alloy Car Antenna Replacement Accessories With Bracket For Toyota 4runner Hilux Surf Kzn185 1995 2000 Aerials Aliexpress
www.aliexpress.com

2000 Toyota 4runner Find Speakers Stereos And Dash Kits That Fit Your Car
www.crutchfield.com

2000 Toyota 4runner Reviews Ratings Prices Consumer Reports
www.consumerreports.org

96 02 3rd Gen Toyota 4runner Power Antenna Replacement Youtube
www.youtube.com

2000 Toyota 4runner Frame Rust Tacoma World
www.tacomaworld.com

Upgrading The Stereo System In Your 2003 2009 Toyota 4runner
www.crutchfield.com

1996 2002 Toyota 4 Runner Power Antenna Parts 86300 35111 86396 89102 86392 35020 86337 35111
antennamastsrus.com

Vehemo Aluminium Alloy Silver Radio Aerial Antenna Aerial Mast Telescopic Car Replacement Pole For Toyota 4runner Radio Antenna Aliexpress Com Imall Com
imall.com

2000 Toyota 4runner Reviews Verified Owners
www.surecritic.com

X6fyz Enfmkvjm

Toyota 4runner Head Unit
toyota4runnerjapan.blogspot.com

Amazon Com X Autohaux Power Antenna Mast Replacement For Toyota 4runner Am Fm Radio Aerial 86337 35111 Automotive
www.amazon.com

Used 1997 Toyota 4runner For Sale Near Me Edmunds
www.edmunds.com

Toyota 4runner Power Antenna Replacement Youtube
www.youtube.com

Power Antenna Fix With Pic S Toyota 4runner Forum Largest 4runner Forum
www.toyota-4runner.org

Used 2000 Toyota 4runner Sr5 For Sale In San Rafael Ca Toyota Marin
www.toyotamarin.com

Toyota 4runner 1996 2002 Replacement Antenna Mast A1010o3z160 Topgearautosport
www.topgearautosport.com

New 2020 Toyota 4runner Trd Off Road Premium 4 In Cumming 805358 Beaver Toyota Of Cumming
www.beavertoyotacumming.com

Replacing The Power Antenna With Whip Antenna Picture Heavy Toyota 4runner Forum 4runners Com
www.4runners.com

2000 Toyota 4runner Sr5 Jt3gn86r1y0175622 Eastern Shore Toyota Daphne Al
www.easternshoretoyota.com

Toyota 4runner Radio Antenna Mast 1996 1997 1998 1999 2000 2001 2002 Genuine Oem 8630035111 86300 35111 Apszone
apszone.com

Buy Used 2000 Toyota 4runner Sr5 Lifted Southern Truck 01 02 03 04 05 06 In Griffin Georgia United States For Us 5 995 00
www.2040-cars.com

Amazon Com Antennamastsrus Power Antenna Mast Is Compatible With Toyota 4 Runner 1996 2002 Toyota Hilux 1998 2005 Toyota Prado 1996 2002 Home Audio Theater
www.amazon.com

Toyota 4runner Antenna Mount Youtube
www.youtube.com

1996 2002 Toyota 4 Runner Power Antenna Parts 86300 35111 86396 89102 86392 35020 86337 35111
antennamastsrus.com

Help Antenna Broke Off I Couldn T Get The Threads Out With An Ez Out Tacoma World
www.tacomaworld.com

Power Antenna Fix With Pic S Toyota 4runner Forum Largest 4runner Forum
www.toyota-4runner.org

Antenna Mast Replacement Help I Really Did It Now Toyota 4runner Forum Largest 4runner Forum
www.toyota-4runner.org

3rd Gen 4runner Cb Radio 1998 Toyota 4runner Took Out The Ash Tray And Slid In This Cobra 19 Ultra Iii Walmart 34 Plus 4runner 3rd Gen 4runner 4runner Mods
www.pinterest.com

Howto 2000 Stereo Replacement Toyota 4runner Forum Toyota 4runner Enthusiasts Forum
www.4runnerforum.com

How To Disable Power Antenna Yotatech Forums
www.yotatech.com

3rd Gen Faq Tutorials Documentation Reference V2 Toyota 4runner Forum Largest 4runner Forum Toyota Toyota 4runner Brake Fluid
www.pinterest.com

Toyota 4runner 1996 2001 Power Antenna Kit A101fw41161 Topgearautosport
www.topgearautosport.com

1996 02 Toyota 4runner Consumer Guide Auto
consumerguide.com

Replacing The Power Antenna With Whip Antenna Picture Heavy Toyota 4runner Forum 4runners Com
www.4runners.com

Used 2000 Toyota 4runner For Sale Near Portland Vin Jt3hn87r2y0285212
www.hannahsubaru.com

Used 2000 Toyota 4runner For Sale At Emmons Autoplex Vin Jt3gn87r3y0149151
www.emmonsmotorcompany.com

2000 Toyota 4runner Cars For Sale
www.smartmotorguide.com

Stock Antenna Page 2 Toyota 4runner Forum Largest 4runner Forum
www.toyota-4runner.org

Amazon Com Vofono Radio Antenna Compatible With 1995 1996 1997 1998 1999 2000 2001 2002 2003 2004 2005 2006 2007 2008 2009 2010 2011 2012 2013 2014 2015 Toyota Tacoma 2000 To 2020 Tundra Sienna 4runner Automotive
www.amazon.com

Power Antenna Fix With Pic S Toyota 4runner Forum Largest 4runner Forum
www.toyota-4runner.org

Replacing The Power Antenna With Whip Antenna Picture Heavy Toyota 4runner Forum 4runners Com
www.4runners.com

96 02 3rd Gen Toyota 4runner Power Antenna Replacement Youtube
www.youtube.com

Toyota 4runner Antenna Mast Car Antennas Genuine Dorman Autotecnica 1999 2000 2001 2002 1997 1998 2013 2011 99 00 01 02 97 98 13 11 Partsgeek Com
www.partsgeek.com

2020 Toyota 4runner Limited 4dr 4x4 Specs And Prices
www.autoblog.com

Replacing The Power Antenna With Whip Antenna Picture Heavy Toyota 4runner Forum 4runners Com
www.4runners.com

2000 Toyota 4runner Limited For Sale On Bat Auctions Closed On October 8 2018 Lot 12 989 Bring A Trailer
bringatrailer.com

Pioneer Avh W4500nex Dvd Receiver With Installation Kit Wire Harness And Antenna Adapter For 03 09 Toyota 4runner 00 05 Celica And Mr2 Spyder
www.soundoftristate.com

close